


特性
-
外形尺寸最小的引脚兼容型双通道 DAC:
- LTC2607: 16 位
- LTC2617: 14 位
- LTC2627: 12 位
- 在整个温度范围内保证具有单调性
- 27 个可选地址
- 400kHz I 2 C 接口
- 2.7V 至 5.5V 宽电源范围
- 低功率操作:每个 DAC 的消耗电流为 260μA (在 3V)
- 断电至 1μA (最大值)
- 高轨至轨输出驱动 (±15mA,最小值)
- 超低串扰 (30μV)
- 双缓冲数据锁存器
- 异步 DAC 更新引脚
- LTC2607 / LTC2617 / LTC2627:上电复位至零标度
- LTC2607-1 / LTC2617-1 / LTC2627-1:上电复位至中间标度
- 纤巧型 (3mm x 4mm) 12 引脚 DFN 封装
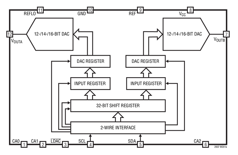
LTC ® 2607 / LTC2617 / LTC2627 是双通道 16 位、14 位和 12 位 2.7V 至 5.5V 轨至轨电压输出 DAC,采用 12 引脚 DFN 封装。它们内置了高性能输出缓冲器,并保证具有单调特性。
这些器件为 16 位和 14 位 DAC 建立了新的电路板密度标准,并提升了单电源、电压输出 DAC 中的输出驱动和负载调节的性能标准。
这三款器件采用了一个二线式 I 2 C 兼容型串行接口。LTC2607 / LTC2617 / LTC2627 可工作于标准模式 (时钟速率为 100kHz) 和快速模式 (时钟速率为 400kHz)。另外,这些器件还具有一个异步 DAC 更新引脚 ( LDAC ) 。
LTC2607 / LTC2617 / LTC2627 内置了一个上电复位电路。在上电期间,电压输出上升至零标度以上不足 10mV;而在上电操作之后,它们将保持于零标度,直到出现一个有效写操作和更新操作为止。上电复位电路将 LTC2607-1 / LTC2617-1 / LTC2627-1 复位至中间标度。电压输出保持在中间标度,直至出现一个有效写操作和更新操作为止。
应用
- 移动通信
- 过程控制和工业自动化
- 仪表
- 自动测试设备
数据手册 1
可靠性数据 1
产品选型卡 3
ADI 始终高度重视提供符合最高质量和可靠性水平的产品。我们通过将质量和可靠性检查纳入产品和工艺设计的各个范围以及制造过程来实现这一目标。出货产品的“零缺陷”始终是我们的目标。查看我们的 质量和可靠性计划和认证 以了解更多信息。
产品型号 | 引脚/封装图-中文版 | 文档 | CAD 符号,脚注和 3D模型 |
---|---|---|---|
LTC2627CDE#PBF |
12-Lead DFN (4mm x 3mm w/ EP)
![]() |
|
|
LTC2627CDE#TRPBF |
12-Lead DFN (4mm x 3mm w/ EP)
![]() |
|
|
LTC2627CDE-1#PBF |
12-Lead DFN (4mm x 3mm w/ EP)
![]() |
|
|
LTC2627CDE-1#TRPBF |
12-Lead DFN (4mm x 3mm w/ EP)
![]() |
|
|
LTC2627IDE#PBF |
12-Lead DFN (4mm x 3mm w/ EP)
![]() |
|
|
LTC2627IDE#TRPBF |
12-Lead DFN (4mm x 3mm w/ EP)
![]() |
|
|
LTC2627IDE-1#PBF |
12-Lead DFN (4mm x 3mm w/ EP)
![]() |
|
|
LTC2627IDE-1#TRPBF |
12-Lead DFN (4mm x 3mm w/ EP)
![]() |
|
部分模型 | 产品周期 | 描述 | ||
---|---|---|---|---|
I²C 隔离器 1 |
||||
量产 |
具可调 ±12.5V 和 5V 稳定电源的 SPI / 数字或 I 2 C μModule 隔离器 |
|||
串行总线缓冲器、扩展器和加速度计 1 |
||||
量产 |
双通道 I 2 C / SMBus 地址转换器 |
|||
多通道电压输出数模转换器 1 |
||||
量产 |
具 10ppm/ºC 基准的双通道 12 / 10 / 8 位 I 2 C V OUT DAC |
工具及仿真模型 2
Linduino
Linduino是ADI公司的Arduino兼容系统,用于开发和分配面向集成电路的固件库和示例代码。每个支持Linduino的产品包括示例主程序(在LTSketchbook/产品型号文件夹中定义)和驱动程序代码(在LTSketchbook/库文件夹中定义)。